Skracovací (súbežný) hák PSW, s poistkou, trieda 10, PEWAG WINNER
Odpovedá norme EN 1677-1 s vyššou nosnosťou.
Pre pewag montovaný systém.
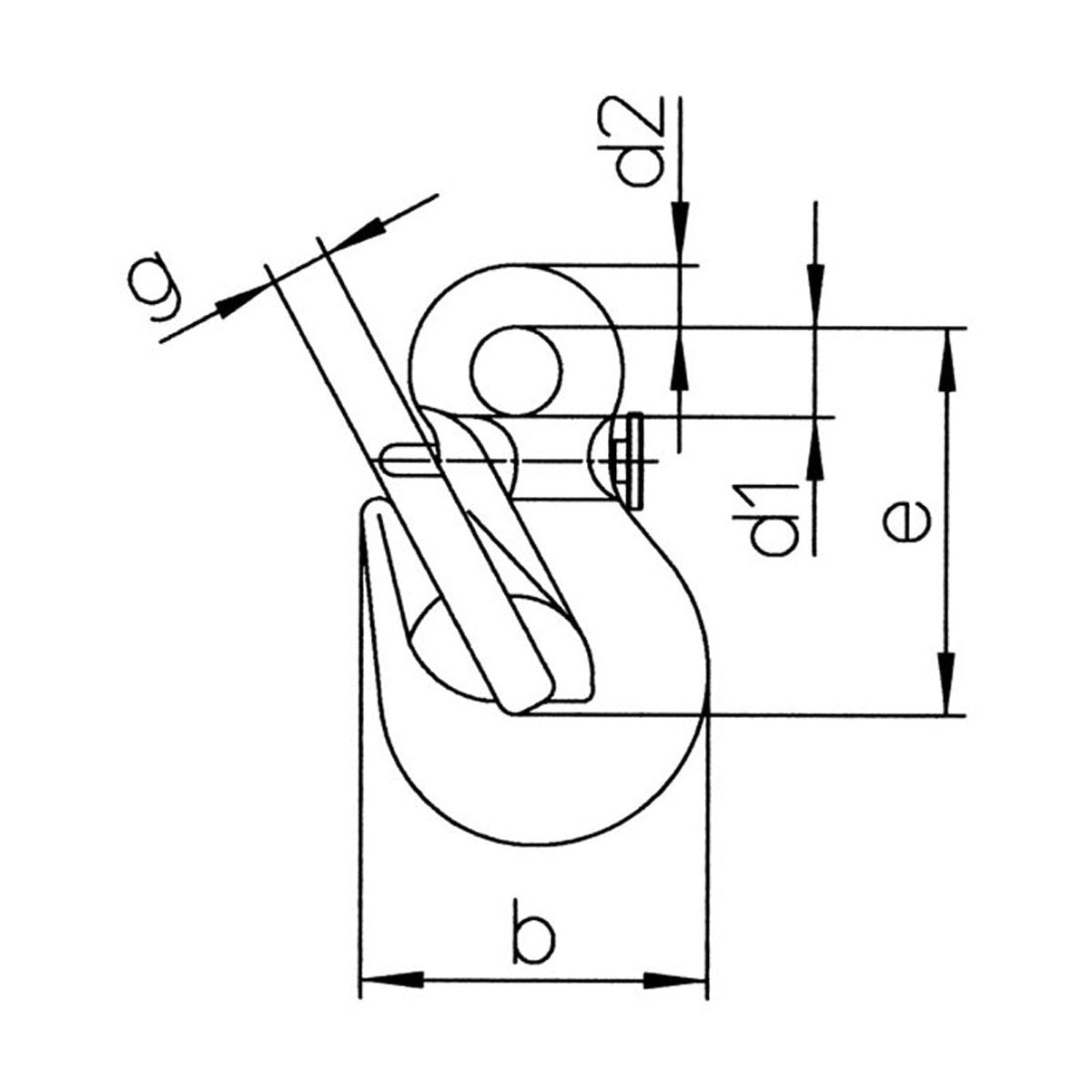
Skracovací hák s poistkou proti nechcenému vyháknutiu reťaze. Prvý výrobok v G10 - nedochádza k znižovaniu nosnosti vďaka 4násobnému istiacemu faktoru.
Tento štandardný skracovacie hák zaisťuje optimálne vzájomné pôsobenie medzi reťazou a hákom vďaka jeho špeciálnej konštrukcii, styčné plochy háku a reťaze. Okrem toho, integrovaná poistka chráni reťaz pred náhodným uvoľnením. Spojenie háku s reťazou či inými prvkami možno iba pomocou spojovacieho článku CW. Nemožno kombinovať so spojovacím článkom Unilock. Nesmie byť použitý vo zváranom systéme. Je nutné dbať na to, aby špička háku nebola zaťažovaná. Tento hák je dodávaný s kompletným návodom na použitie. Hák je v súlade s normou EN 1677-1 v triede G10 a s označením CE. Poistka je tiež k dispozícii ako náhradný diel PSGW a skladá sa z kolíka, pružinky a matice.

| Označenie | Nosnosť | e | b | d1 | d2 | g | Hmotnosť |
| --- | kg | mm | mm | mm | mm | mm | kg/ks |
| PSW 7/8 | 2500 | 71 | 58 | 20 | 12 | 11 | 0,4 |
| PSW 10 | 4000 | 88 | 76 | 22 | 15 | 13 | 0,9 |
| PSW 13 | 6700 | 98 | 98 | 24 | 17 | 16 | 1,6 |
| PSW 16 | 10000 | 129 | 118 | 32 | 23 | 19 | 3,6 |

