Zdvíhacia zvierka na profily IPTK - CROSBY
Zdvíhacia svorka na profily IPTK - CROSBY, je určená na transport nosníkov alebo viacúčelové závesenie
Telo svorky je vyrobené zo zváranej legovanej pevnostnej ocele, čo umožňuje zachovať vysokú pevnosť a menšie rozmery. Úchopné časti sú kované z vysokopevnostnej zliatiny.
Každá svorka je individuálne testovaná na 2-násobok limitu pracovného zaťaženia, s certifikátom, označená jedinečným sériovým číslom a dátumom vykonania skúšky zaťaženia na tele svorky.
Názov spoločnosti (CrosbyIP), logo, limit pracovného zaťaženia a rozovretia čeľuste, je trvalo vyrazené na tele svorky.
Zdvíhacia svorka na profily IPTK - CROSBY, spĺňa podmienky noriem EN 13155 a ASME B30.20.
Vyrobené podľa normy ISO 9001.
Všetky svorky CROSBY, sú "RFID EQUIPPED" - opatrené identifikačným čipom RFID.



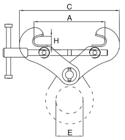
| Typ | Maximálne zaťaženie | Hmotnosť | Čeľuste A | C | D | E | F | H | J | K |
| --- | t | kg | mm | mm | mm | mm | mm | mm | mm | mm |
| IPTK | 2 | 6,0 | 75 - 190 | A + 80 | 125 | 75 | - | 25 | - | 20 |
| IPTK | 3 | 6,5 | 75 - 190 | A + 80 | 125 | 75 | - | 25 | - | 20 |
| IPTK | 4 | 8,5 | 150 - 280 | A + 100 | 125 | 75 | - | 35 | - | 20 |
| IPTK | 5 | 11,0 | 120 - 350 | A + 195 | 125 | 75 | - | 40 | - | 20 |
| IPTK | 25 | 225,0 | 450 - 1020 | A + 220 | 500 | 125 | - | 76 | - | 45 |



